备料
建一个8立方米的沼气池需要水泥1吨、砂子2立方米、碎石(规格1~3厘米)0.6立方米、红 砖 600块、陶瓷管(直径20~30厘米)1~2根、钢筋(直径14毫米)1.2米。如果建10立方米沼气池 ,其水泥、砖、砂再增加10%,若建6立方米沼气池,则水泥、砖、砂比8立方米沼气池用量 要减少10%。
放线
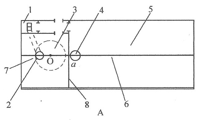
放线挖坑是保证建池质量的第一关,必须按规定尺寸施工。图2.11是三种“模式”总体放 线布置图,供放线时参考。以图2.11中A图为例说明放线要点:①划出总体平面。②划出温 室、猪舍面积,猪舍在东侧或西侧。③划出“模式”宽度中心线。④以O为起点,在猪舍内侧找出池的中心点O,以O为圆心,以池的半径加6厘米为半径划圆,确定池的位置。⑤确定 进料口、出料口位置。要在“模式”宽度中心线上确定为进料口中心点和位于日光温室内的 出料口中心点,用白灰做好标记。

1.厕所 2.进料口 3.沼气池 4.出料口5.日光温室
6.模式宽度中心线 7.猪舍 8.内山墙

1. 1. 厕所 2.进料口 3.沼气池 4.出料口5.日光温室
6.猪舍 7.模式宽度中心线 8.内山墙

1.
厕所 2.进料口 3.沼气池 4.出料口5.日光温室
6.猪舍东西宽度中心线 7.猪舍
图2.11 不同“模式”总体放线布置图
2.4.3 池坑开挖
在“模式”内建沼气池均采用地下埋式,沼气池土方工程采用大开挖的施工工艺。首先,应 确定好正负零的高度。池坑深度按设计图确定,即沼气池的池顶与出料口保持在一个水平 面上,并高出猪舍地面10厘米。进料口超高地面2厘米,如果挖得过深使沼气池低于地平面 ,影响配套使用,挖得过浅使沼气池突出地面,给养猪和日光温室施肥造成困难。具体尺寸如表2.1所示。
表2.1 6~10米3沼气池结构规格标准
|
容积/米3
|
内直径/米
|
池墙高/米
|
池顶矢高/米
|
池顶曲率半径/米
|
水压间
|
|
|
深/米
|
直径/米
|
|||||
|
6
8
10
|
2.40
2.70
3.00
|
1.00
1.00
1.00
|
0.48
0.54
0.60
|
1.74
1.96
2.18
|
2.10
2.18
2.28
|
0.90
1.00
1.10
|
中国沼气网版权与免责声明:
①本网未注明"来源:中国沼气网"的文/图等稿件均为转载稿,本网转载出于传递更多信息之目的,并不意味着赞同其观点或证实其内容的真实性。如其他媒体、网站或个人从本网下载使用,必须保留本网注明的"来源",并自负版权等法律责任。如对稿件内容有疑议,请及时与我们联系。
②如本网转载稿涉及版权等问题,请作者在两周内速来电或来函与中国沼气网联系。
③本文仅代表作者个人观点,与中国沼气网无关。其原创性以及文中陈述文字和内容未经本站证实,对本文以及其中全部或者部分内容、文字的真实性、完整性、及时性本站不作任何保证或承诺,请读者仅作参考,并请自行核实相关内容。
